
Joining the bending game
Future iPhones won’t suffer from the bendgate issues that plagued iPhone 6 Plus users, instead they’ll bend on purpose.
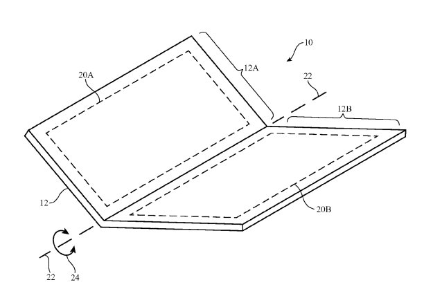
A patent Apple filed in 2014 was finally awarded to the company this week by the United States Patent and Trademark Office (USPTO). The patent isn’t for a new iDevice, but for carbon nanotube circuits that would allow for flexible electronic devices.
Apple certainly isn’t the first to receive a patent for a material allowing flexible electronics. What’s unique is that Apple’s patent refers to a rather specific part of a supposedly flexible device. The patent describes using carbon nanotubes as signal paths in a flexible printed circuit. This could allow a device to bend even through the display itself, without damaging the circuitry.
“Carbon nanotubes may be patterned to form carbon nanotube signal paths on the substrates. The signal paths may resist cracking when bent,” the patent states.

Furthermore, the document illustrates how the potential device can bend at a specific seam, similar to notebooks. It also suggests the possibility of bending at multiple seams to allow the device to be folded in several ways.
The flexible market
With this patent, Apple joins tech bigwigs like Samsung and Lenovo who have long ventured into developing flexible tech. Samsung’s own patent details smartphones that don’t just bend and fold, but are also rollable. Lenovo presented their own bendable smartphone prototype at the Tech World Expo last June. LG has its own rollable OLED screens.
Of course, the most curious of all is ReFlex, supposedly the world’s first working foldable smartphone developed by engineers at Queen’s University.
But what does all this foldable tech contribute? Apart from presumably more durable phones and the actual cool gesture of flipping a touchscreen smartphone, there seems to be not much as of the moment. Here’s where Apple’s patent comes in.
The patent seems to hint at the potential for cramming electrical components or permanently bent circuits into unusually-shaped devices — something Apple can explore as it moves into the Internet of Things (IoT).