
Smartphone Innovation
Remember how cellphones used to come in all shapes and sizes? We had flip phones and sliders, round phones and rectangular ones, small ones barely bigger than your thumb and large ones that covered the palm of your hand. We even had phones designed specifically for gamers or music enthusiasts.
Since the advent of the smartphone, we’ve pretty much been stuck with the traditional candy bar shape. Sure, our phones are more powerful than anyone with a Sidekick or Blackberry could’ve imagined, but as far as design goes, we haven’t seen much by way of aesthetic innovation.
This could all change in 2018.
South Korean IT news site ET News has just reported that LG Display will not only be producing foldable displays for smartphones come 2018, they’ll also be supplying that technology to Apple, Google, and Microsoft. This implies that the technology will hit the market soon, possibly as early as 2018, and that some of the biggest names in the smartphone industry will be competing to introduce their own version of it.

Foldable Phones
While talk of foldable smartphone technology isn’t exactly new, seeing it finally hit the market would be. It’d be a welcome departure from the traditional smartphone design that we continue to see with every new launch and would allow for more durable, adaptable devices.
Thus far, only Samsung has pushed the boundaries of recent smartphone design with their EDGE technology, a minimal design edit that sees the smartphone screen curving around the edge of the phone for some added functionality. As far back as December 2015, however, Samsung had already filed for patents for what can presumably be an upcoming fully foldable flagship product.
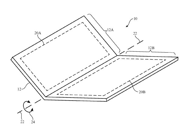
Before that, Semiconductor Energy Laboratory demonstrated the first consumer-grade display that could be folded in three without breaking. Apple also happens to have a flexible device in the works — the company has been awarded a patent for carbon nanotube circuits that would allow for flexible electronic devices.
With all this news circulating in the smartphone technology industry, we certainly have a lot to look forward to in 2018.
