
Amazon is finally making a delivery drone that doesn’t just keep attacking flying at you if you’re yelling and waving your arms.
Some context: in an effort to fuel our endless addiction for same-day delivery, Amazon and its competitors have been looking to the skies to skip highways and roads congested with delivery trucks and morning commuters.
Amazon Prime Air — the retail giant’s drone delivery system concept — has been in the works since December of 2013, when Amazon CEO Jeff Bezos promised the company wuld make 30-minute deliveries of packages up to 5 pounds (2.25 kg). In 2016, the first public trial took place in Cambridge, England.
If Amazon has its way, drones are going to be delivering those nose-hair clippers you ordered, lickety-split. But what’s not yet clear is how those drones are going to fit in with the rest of society. The U.S. FAA (Federal Aviation Administration) is still catching up, creating and modifying its regulations to allow for drones to operate commercially.
Now, Amazon has filed a patent for a delivery drone more responsive to the humans around it. The drone would be equipped with technology that would make it responsive to the frantic calls and hand-waving of nearby humans. According to GeekWire, the concept dates back to 2014, and is a continuation of an earlier patent intended to smooth over UAV-human interaction.
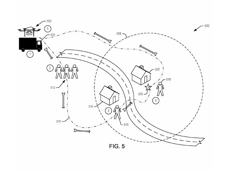
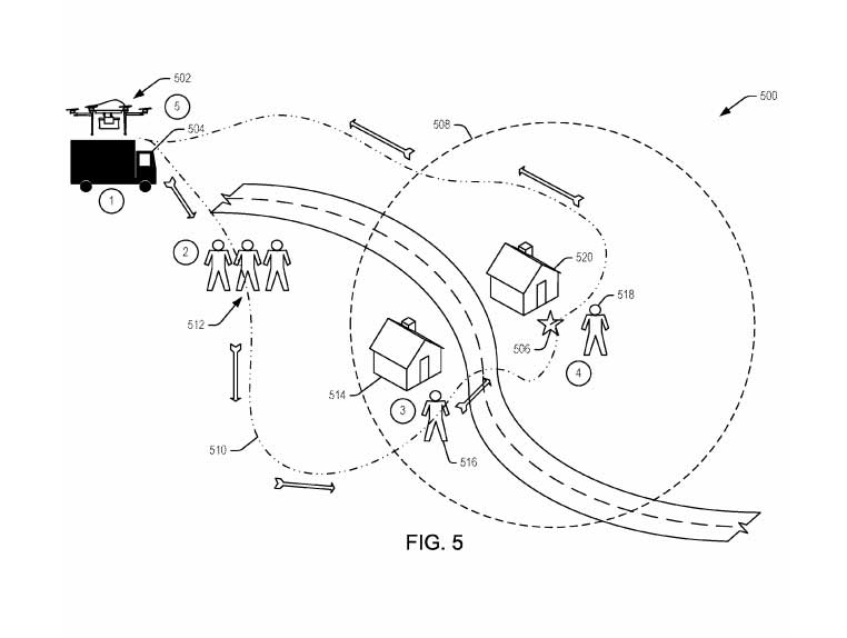
A quick glance at the patent’s A+ illustrations indicates the huge comedic potential of having your neighbor yelling “SIT!” and “LAND!” while waving his arms at the UAV delivering his electric toothbrush.

To do this, a drone would have to be equipped with a host of sensors, from depth sensors and infrared, along with extremely sensitive microphones.
But the drones already on the market today are nearly there. For instance, the DJI Spark released in 2017 can be controlled Jedi-mind-tricks-style with a raised arm.
According to the patent, Amazon drones will be able to do this, plus follow bystanders’ directions from the roof of the delivery vehicle to the recipient’s home (though it’s hard to imagine that neighbors would necessarily know that you ordered something 30 minutes ago, or, if they’re like mine, that they would, you know, actually be helpful).

But the patent raises more questions than answers. Could the drone still deliver to your home when you’re not there? What if, when you flail your arms to get the drone to back off, it kept going and chopped off your arm instead? Would Amazon cover the return shipping of your medical bill?
As with countless other patents of this kind, there’s a pretty decent chance this technology will never see the light of day. After all, we’re still waiting on Amazon’s self-destructing delivery drone and a giant floating fulfillment center.