
Amazon’s Reality
The future of augmented reality, if it takes it cue from retail behemoth Amazon, could be completely headset free.
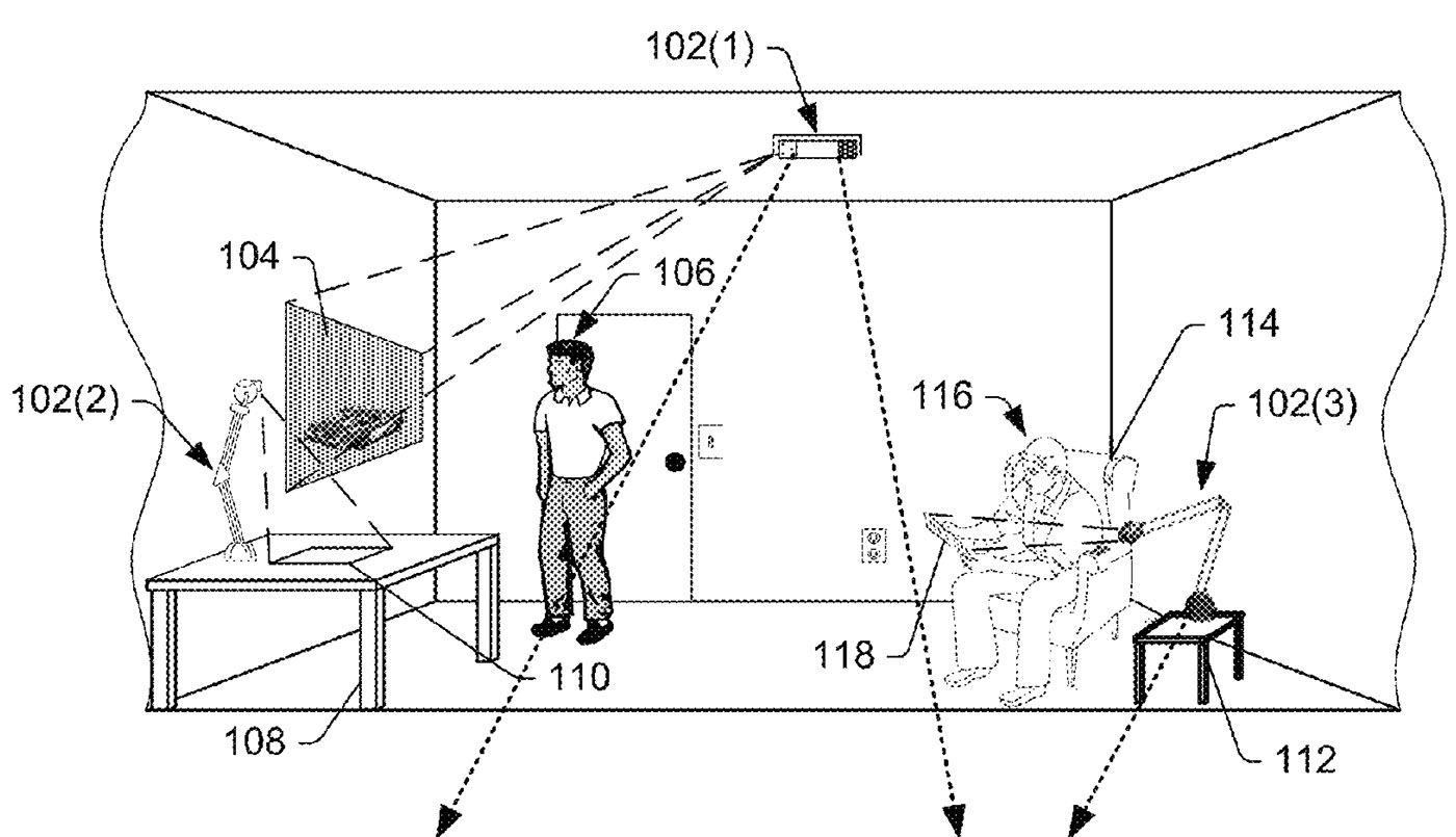
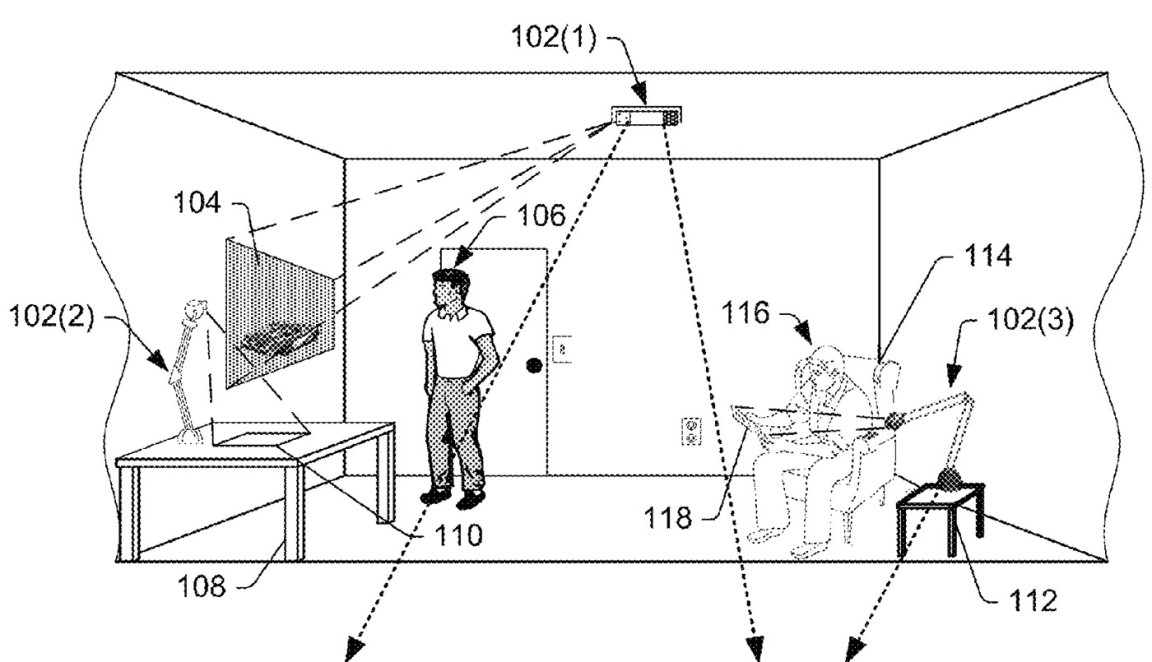
In this case, Amazon’s numerous patents for the augmented reality would, instead, beam virtual images onto real objects found in our homes. Ultimately, this would work using a system of projectors and cameras. With their (now patented) ‘object tracking’ technology, the devices can track a user’s body as they interact with the projections.
“The projected content may include electronic books, videos, images, interactive menus, or any other sort of visual content. For instance, a user within the environment may request that the ARFN project a particular electronic book that the user wishes to read. In response, the ARFN may project the book onto a projection surface within the environment,” the tracking patent states.

Another version of the patent features a ‘reflector-based depth mapping,’ which essentially turns a room into a holodeck by mapping the position of objects and people in any given space. It uses a single light source and, given this fact, it could theoretically allow Amazon’s version of the technology to be more affordable than some of the more complicated systems that are currently available.
Advancements in AR
In this venture, Amazon joins other tech giants, such as Apple and Microsoft, who have invested resources into the development of augmented reality technology.
RoomAlive, also known as IllumiRoom, is Microsoft’s virtual environment that allows gamers to enjoy an immersive gaming experience where they can enter a scene projected on a wall.
And Apple, who first filed a patent for a similar technology back in 2012, also has plans in the pipeline to develop augmented reality. This is meant to create more realism by using two cameras to scan a room and project images on found objects.
With more and more companies exploring how they can develop augmented reality, it presents additional opportunities for the technology to actually be made accessible and adopted on a wider scale.