
The Better to See You With
Perhaps the only thing as troubling as the idea of replacing human workers with intelligent machines is the idea of using machines to monitor human workers’ every move, but that’s essentially what Amazon’s tracking wristbands are designed to do.
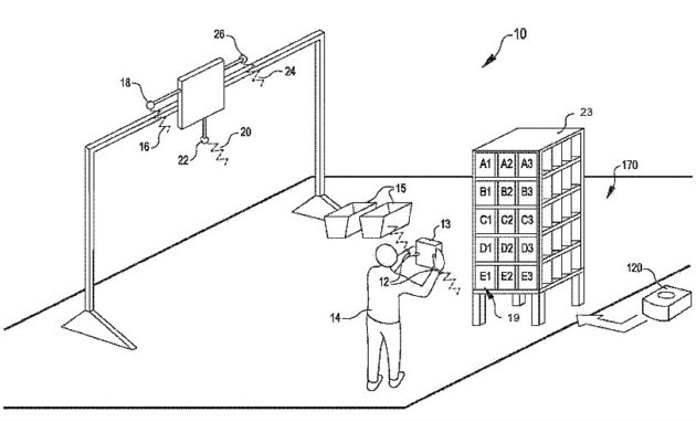
On January 30, 2018, the U.S. Patent and Trademark Office (USPTO) granted Amazon two patents for wristbands that track workers’ hands. Yes, hands. The tracking is made possible by ultrasonic devices positioned in strategic areas of a warehouse or factory.

Amazon’s tracking wristbands are designed to provide “haptic feedback” based on workers’ movements. When a worker reaches for the wrong product, for example, the wristband can alert them to the error. Like an invisible slap, so to speak. Gentle, but a slap nonetheless.
To be fair, the feedback isn’t limited to when workers make mistakes. The wristbands also provide a kind of proximity alert that lets workers know if they are “within a suitable close distance to the identified storage location in which the item is stored,” according to the patent.
According to GeekWire, which first spotted the approval, Amazon filed the patents for the Black Mirror-esque wristbands back in 2016.
Wearables for Workers
Amazon’s tracking wristbands are supposedly meant for factory and warehouse employees, and the idea is to maximize a human worker’s time and effort, as well as to keep inventories in flawless order.
The e-retailer is hardly the first company to want to make use of wearables to improve worker efficiency. Several others have pursued similar initiatives, albeit without the dystopian sci-fi feel.

There’s Glass, Google’s much-hyped wearable, which is now used to assist workers in factories and warehouses. Ford has using Microsoft’s HoloLens to improve the design process for their cars, something that Tesla competitor Lucid Motors is also doing, but with the HTC Vive.
In any case, Amazon’s tracking wristbands may not move beyond the patent stage, but if the wearables do find their way onto warehouse floors, workers will have to adjust to an entirely new level of supervision.