
With Samsung, Google, and even Facebook getting into the virtual reality world, one name is notoriously absent: Apple. Why is the tech giant mum in what looks like the next tech wave?
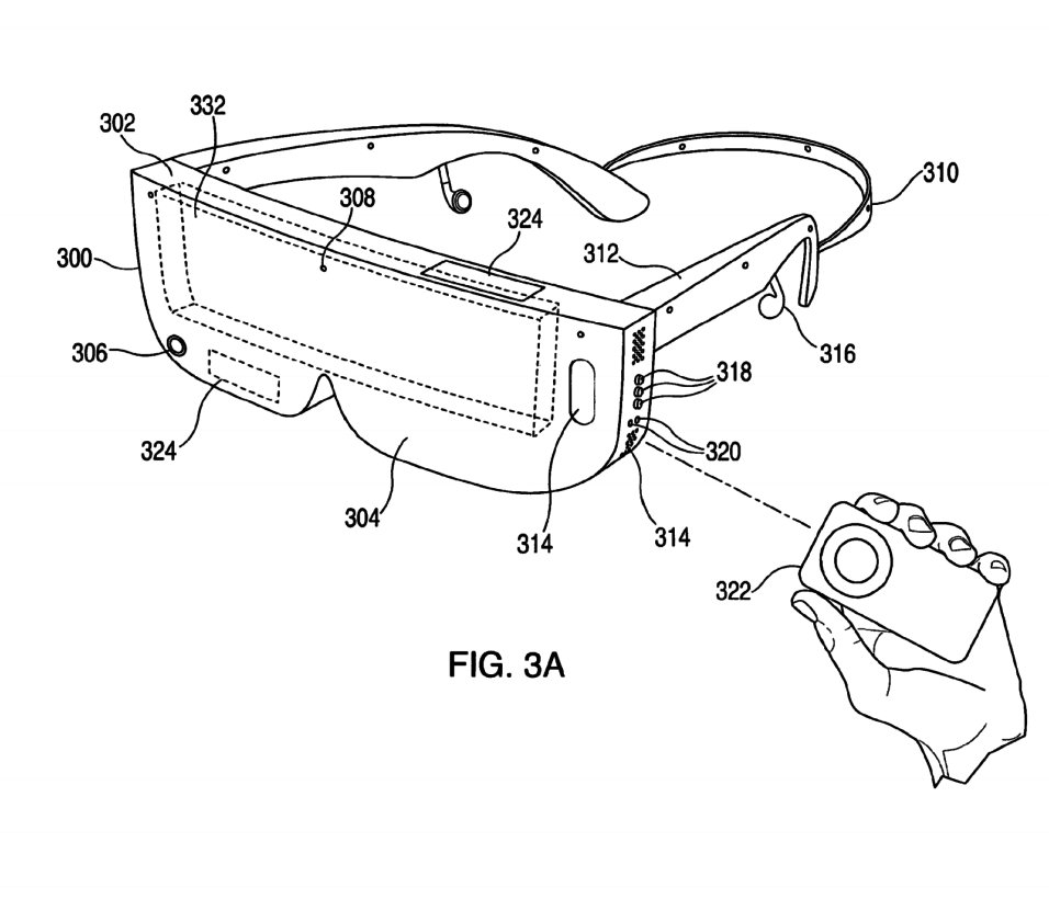
Well, it isn’t anymore. Apple was just granted a patent for what looks like virtual reality (VR) googles that connect to the iPhone. The device would have built-in headphones, custom lenses, and connect to the iPhone via lightening cable.

But VR junkies shouldn’t get their hopes up too high: no where in the patent application are the words “virtual reality.” In fact, the title of the patent is “Head-Mounted Display Apparatus For Retaining A Portable Device With Display.“
But it does look eerily similar to Samsung Gear VR, and they share a common characteristic: a physical connection between the phone and the device. In fact, it looks like this was the key thing Apple was trying to protect in filing the patent.
While not all things filed in the patent office become real products, this does jive with Apple’s plans, having assembled on its own team that’s working on VR.