
Instantaneous 3D Printing
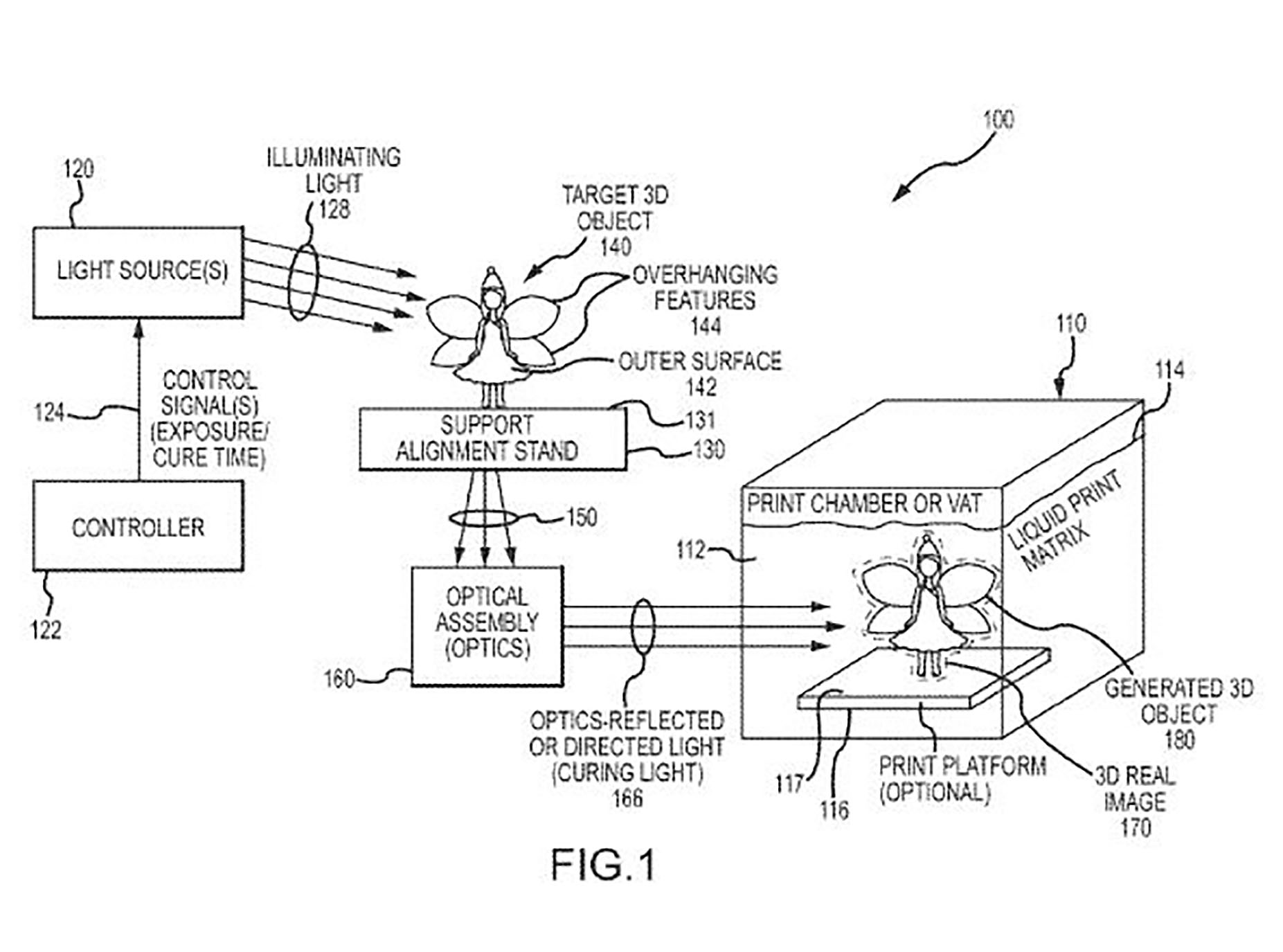
Disney Research has patented its design for “a nearly instantaneous” 3D printer that uses light to cure resin selectively to produce an entire model out of a stereolithography (STL) file all at once. Notably, this significantly cuts down printing time. Or at least, it will if it makes it to market.
“Presently, 3D printing is extremely slow and time consuming. For example, it may take several hours to print a single 3D object even if the 3D object is relatively small (e.g., several inches in diameter and four to 12 inches tall),” the patent stated. It continues, “the 3D printing process that uses conventional 3D printers such as an FFF-based 3D printer is limited in its speed by the speed of the mechanism moving the print head to each new position on a print layer.”
The photosensitive resin to be used by the printer cures with light at specific wavelengths to make sure it doesn’t cure simply by being exposed to ambient light. The printer projects the light into the container, which has enough volume to produce the model. Once the light cures the model, it may simply be taken out of the container.
“In several test operations, a 3D printer using photo-curing liquids has been proven effective in generating 3D objects in several minutes or less rather than several hours,” the patent asserts.

Patents All Set
Disney Research is also ensuring the exclusivity of the technology by filing another patent which would keep unauthorized companies from copying the printer by issuing passive radio frequency identification (RFID) embedded within every object printed.
“The digital file defines not only the outer shell of the 3D object but also defines a unique identifier or identification (ID) element to be printed in the inner volume (within the outer shell) of the 3D object in one or more layers,” Disney stated.