Airbus has been trying to position itself as a developer of very fast aircraft, and they’ve been rather successful, creating ultra-fast airplanes and breaking helicopter speed records. Now, they are making more headway in their need for speed.
The company just patented, what could become, the fastest helicopter in the world. It is an as-yet-unnamed development in the company’s revolutionary X3 experimental helicopter. The patent was filed by Airbus Helicopters’ Axel Fink, Ambrosius Weiss, and Andrew Winkworth.
The new concept is part of the High-speed, long-range Hybrid Helicopter, or H3 initiative by Airbus.

During testing, the X3 managed to reach a staggering 471 km/h (293 mph), which makes it the fastest non-tilt-rotor helicopter in the world. With the updates, if they are instituted, it is possible that this helicopter could become the fastest in the world.
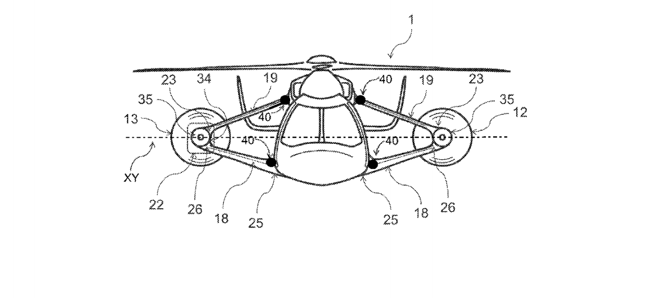
Patent images show several developments over the X3 design. Like the X3, it has pair of wing-mounted engines with pusher propellers in addition to the conventional main rotor. However, the patented aircraft’s propellers are mounted behind the wings instead of in front.

According to the patent, this helps reduce noise and vibrations while improving lift and passenger safety. Another improvement is the possible inclusion of turbojet engines, increasing speed.
While a patent has been filed, there are no hints that the patented compound helicopter will ever see production in its current guise.